Sauerstoff - Pendelatmer

Sauerstoff-Pendelatmer(2010)
Neben den aufwendigen automatischen Kreislaufgeräten interessierte mich natürlich auch ein absolut einfaches, technisch unkompliziertes TG, wie der Pendelatmer. Ein Atemsack (Gegenlunge), 1l O2-Flasche,  Kalkbehälter und ein Einatemschlauch, das ist alles.

Pendelatmer auf der Brust getragen, die große Gegenlunge dient gleichzeitig zur Tarrierung über das Bedarfsventil.

Lunge ca. 13 Liter (Packsack der Fa. Ortlieb)

Sauerstoffeispeissung und Verschraubung des Atemkalkbehälters mit Atemschlauch und offenen Mundstück

Sauerstoffhochdruckstufe (Poseidon Cyklon 300) mit Finimeter, einstellbaren Konstantflow (unten) und handgesteuerten Bedarfsventil (oben)
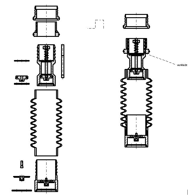
Einzelteile des Kalkbehälters
Montage der Außen -und Innenkammern
Einsetzen der Staubfilter (dünner Schaumgummi)
Kalkbehälter montiert
Kalkbehälter mit Atemkalk gefüllt
Tragegestell
Kalkbehälter in Atembeutel eingesetzt
... beides im Tragegestell verschraubt
Atemschlauch mit Sauerstoffeinspeißung und Überdruckventil montiert.

Atembeutel - Innenansicht mit Kalkbehälter
Aufwaschlappen als Wasserfalle eingelgt
Atembeutel mehrfach eingeschlagen und mit zwei Schienen abgedichtet
neues verschließbares Winkel- Mundstück
neues verschließbares Gerades- Mundstück
Atem-Kondenswasser-Pumpe . . . 
dient zum Abpumpen von Speichel während des Tauchgangs 
Winter-Konfiguration
zusätzlich noch 1l Druckluftflasche für Trockenanzug-Tarrierung
unsere erste Kreisel-Gruppe: 1x Pendler und 3x Medi RG-UF-M (Sept. 2010)

Der Pendler übertraf alles was ich erwartet habe. Der Ein- und Ausatemwiderstand ist fantastisch, keine Einschränkungen in der Kopfbeweglichkeit, einfach zu bedienen, keine komplizierte Technik. Nach dem Wechsel vom automatischen Kreislaufgerät zum Pendler sollte man nicht vergessen eine Hand am manuellen Betätigungsventil zu haben. Die große Lunge ist auch für die Tarrierung völlig ausreichend. Die Kondenswasser-Pumpe zum Abpumpen von Speichel während des Tauchgangs funktioniert hervorragend. Keine Feuchtigkeit im Atembeutel oder -Kalk. Leichtes reinigen des Gerätes.


Anmerkung:
Niemand sollte versuchen solche Tauchgeräte nachzubauen um damit tauchen zu gehen.
zurück